link to Home Page

Gas Filter


To prevent the gas from cooling the filter is mounted in a thermally insulated case. The filter works only if all the vapors in the gas remain as vapor when going through the filter. The filter stays dry and the flow resistance stays acceptable. The filter element is made of woven glass fabric which can stand temperatures up to 500°C. The fabric used in the system built in VAKOLA was made in Belgium and its type is Clark-Schwebel 604-3/CS 323.

For the filter to work properly it is essential that the gas cannot enter the collection chamber in the upper end of the filter housing by any other route than through the fabric. To ensure that this does not happen the fabrics are sewed multiple times and the joints between the supporting rods and the hanging grid are secured with high temperature resistant glue. The sewing is done using twine made of glass fabric or copper. A gas tight maintenance hatch is placed on the lower end of the filter housing. All pipe connections and the filter housing must be gas tight. If fresh air can enter the filter housing the gas will ignite and the produced heat will destroy the filter element in a couple of minutes.

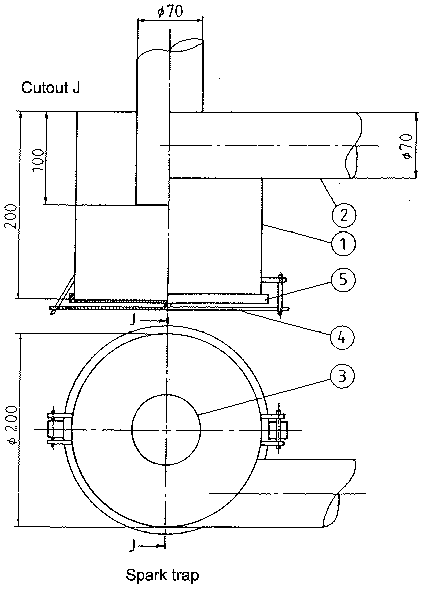
Besides the gas tightness it is important that there is a spark trap installed between the gas generator and the filter. A small cyclone serves best as a spark trap. The glowing charcoal particles drop onto the bottom of the cyclone and cannot enter the filter. The proper area of the filter element surface depends on the size of the ICE used. For a 4 liter ICE the area must be at least 4 square meters. The larger the filter is the longer it stays clean and operable. The fine charcoal dust and ash block a small filter quickly. Even if the filter is large the filter element must be cleaned now and then. A simple and easy cleaning method is hard to construct.

No mechanical cleaning is possible because the fabric will easily be torn or worn out. An acceptable cleaning effect is achieved when a thin layer of charcoal dust is left on the surface of the fabric and only the thickest layers are removed without touching the fabric itself. On the ends of the filter plate are mounted supporting bars, figure 18, on which the cleaning frame (7) leans. The cleaning frame is moved up and down by hand between the filter plates. The weekly maintenance includes cleaning the filter and removing the ash through the maintenance hatch (5). The cleaning must not be neglected even though it is a dirty task. In cold ambient temperature the filter housing and the gas pipes must be thermally insulated to prevent the moisture in the gas from condensing on the filter element fabric surface.

Translated by Olli.

icon